中文English
公司新闻
您现在的位置:Sonics超声波破碎仪 >> 公司新闻
Sherwood M410基本型火焰光度计安装使用说明
日期:2016-11-29 作者: 来源:上海书俊仪器设备有限公司

 一、仪器简介

1.火焰光度计原理

火焰光度计是一种以发射光谱为基本原理的常用分析仪器,它利用火焰的热能使某元素的原子激发发光,并用仪器检测其光谱能量的强弱,进而判断物质中某元素含量的高低。

2M410 基本型火焰光度计

M410 基本型火焰光度计是一种低温单通道火焰光度计,用于测量 NaKCa 这三种元素,更换滤光片也可用于测量锂和钡元素。

3.火焰光度计的应用

火焰光度测定技术应用广泛,可用于测量含有钠,钙,钾的各种样品L域食品,制药,饮料, Na/K/Li 的临床样品,还可应用与化肥,造纸工业,矿物提取,土壤分析,化工产品,石油工业。

二、性能特点和仪器规格

1.读数显示

三位半 LED 显示屏,读数范围:0~1999/0~199.9

2.测量范围

Na——0.5~10ppm

K ——0.5~100ppm

Ca——5~100ppm

Ba——0~3000ppm

注意:样品必须稀释到此浓度测量范围内才能用火焰光度计测量浓度。

3.干扰性

对于 NaKLi 的测量,同等浓度下干扰对于 NaKLi 的测量,同等浓度下干扰小于 0.5%

4.精度

线性:在 Na, K3ppm, Li=5ppm 条件下校正后,量程中点的线性优于 2%。

漂移:仪器预热 30 分钟后,用 10ppmNa/K50ppmCa/Ba 进行校正,零点漂移小于 2

每小时。

重现性:对于 10ppmNa/K/Li,连续 20 次测量同一样品的相对偏差值小于 2%。

5.预热

为了达到精准测量目的,仪器必须在稀释液吸入的情况下预热 30min

6对样品要求

样品应以水为基,不能选择高粘度的溶液或粒子分布不均匀的溶液;样品不能选择带有强酸、强碱性或有腐蚀性的溶液;有机的溶剂在空气和燃气中燃烧的比例影响可能导致仪器点火时出现安全问题,要特别注意。样品可放在试管、烧杯或其他合适的容器中进行测样,吸入量为 6mL/min

7.环境条件温度:仪器运行时温度范围+10~+35℃;运输时温度范围-40~+45℃ 湿度:仪器运行时湿度不能超过 85%;运输时湿度不能超过 95%

一般来说,仪器的所处的环境温度变化小于 4/hr,仪器的正常运行就不会受到影响。

8.仪器尺寸

×宽×长:510mm×390mm×345mm

9.仪器重量

9.5kg

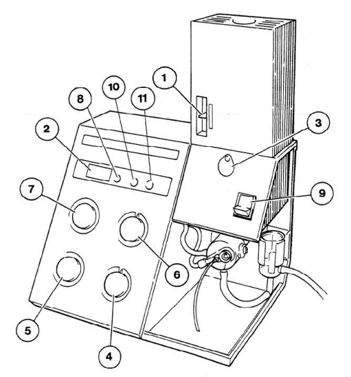
三、仪器结构

1M410 基本型前面板结构图

①滤光片选择器 ②数字显示屏 ③火焰观察窗 ④燃料调控旋钮 ⑤零点校准旋钮⑥标准点粗调旋钮 ⑦标准店精调旋钮 ⑧小数点按钮 ⑨电源开关 ⑩电源灯 ?点火 

2.混合预燃室

①雾化器 ②雾化器固定头 ③空气管 ④废液槽 ⑤燃气节流器 ⑥燃气管 

3.仪器后方控制连接图

①电源连接器和电压选择器 ②气体进口连接器 ③数据输出接口 ④空气进口连接器 ⑤气压计和空气调节器

⑥燃气进口连接器


 

四、安装步骤

1.安装条件

电力要求:M410 型火焰光度计在 50 60Hz 条件下可选择 100V120V220V 240V的电压,仪器后操作面板有电压选择模块,用户根据电压规格选择可使机器正常运行的电压。

燃气要求:M410 型火焰光度计可以使用丁烷、丙烷、液化石油气和天然气。然而,对于钙的测定,我们只建议使用丙烷。指定进气压力 2.1kg/cm2(30psig),流速每分钟至少 0.4L。不建议使用带杂质的工业气体,因为杂质可会进入气体调节器导致灰尘和颗粒的存积,这将使仪器无法正常操作。(注意:燃气钢瓶放置的位置要符合地方和法规。)

空气要求:M410 型火焰光度计要求供应清洁、干燥,无油空气,进气压力至少

1kg/cm2(14psig),流量 6L/min

2.环境要求

1) 仪器放置的环境必须是:清洁、无尘。

2) 仪器需要大约 500mm x 500mm 的工作台空间,工作台必须水平不能有震动。

3) 避免仪器暴漏在强光、强风下。

4) 为了仪器正常操作,环境温度必须在 10-35℃范围内,相对湿度不大于 85%,无凝滴形成。

3.安装步骤

拆箱后检查 M410 的配件是否齐全、是否有损坏,若有任何问题请联系您 Sherwood 牌的经销商。

配件清单:

货号

项目

数量

001

72

043

空气管,2m

1根

001

72

114

燃气管,2m

1根

001

72

080

排液管,200mm

1根

001

48

105

保险丝,200mA

2个

471

71

900

电源线

1个

100

99

010

清洗线,3个/包

1包

001

31

076

O型环

1个

420

08

102

雾化器

1个

400

22

003

雾化器进气管,150mm

1个

410

91

000

全英操作说明书

1本

001

08

718

Unex软管夹

4个

410

92

001

CD,安装操作指南

1个

001 56 620

1000ppm,Na标准液100mL

6瓶/包

001 56 621

1000ppm,K标准液100mL

6瓶/包

001 56 623

1000ppm,Ca标准液100mL

6瓶/包

(安装工具:十字螺丝刀和平叶螺丝刀)

1) 打开烟囱上盖,取出玻璃灯罩,从里面取出包装纸,确保烟囱内无杂物。

2) 从包装盒中取出雾化器,将空气管连到雾化器上,将雾化器安装在混合室上并固定,吸样管连在雾化器上,保证吸样管方向向下。

3) 将橡胶燃气管的两端分别连在燃气钢瓶和 M410 后方燃气入口接口,并用 Unex 软管夹锁定。

4) 打开燃气供应,查看所有连接是否有泄漏。若有,找到泄漏接口并拧紧,保证所有接口严密不漏气。

5) 将空气管的两端分别连在空气压缩机和 M410 仪器后方的空气入口接口,并用 Unex 软管夹锁定。

6) 将排液管连到废液槽的排废液出口,根据实验台具体情况可延长排液管来把废物引到一个接收器或其他容器。注意废液的排出不能受限。

7) 用洗瓶向 U 形管内填满去离子水,填加足够的水用来清除管内空气,多余的水从排废液管流出。(注意:U 形管内必须注满水并排净空气才能停止注水!)

8) 检查电压电压选择器上显示为供应电压是否正确的。如果不是,打开电压选择器室,转动电压选择器,选择合适的电压,关闭室盖。

9) 连接电源线。

五、仪器操作

1.仪器初调

1) 检查仪器后控制面板的空气压力表的读数是否在 11-13psi 之间,如果不是,调节空气调压阀至读数到合适的压力范围。(注意:在点火之前,空压机必须一直打开,如果没有足够的压力,气体不会流动,也就不会点燃火。)

2) 检查连接雾化室和排液阀的 U 形管是否充满水。

3) 打开燃气阀之前必须检查是否漏气,以防存在安全隐患。

4) 调节燃气控制旋钮,逆时针操作,不同的燃气类型按下表不同圈数进行调控。

燃气类型

圈数

丙烷

9

丁烷

11

天然气

16

5) 打开燃气供应阀。

6) 打开点火开关,左侧电源 LED 灯照亮,如果此时火焰的 LED 灯没被照亮,关闭点火开关后等待 10 秒,再开启点火开关,此过程不要调节燃气调控旋钮,以防仪器内没有足够的燃气,没有火焰产生。

7) 将上步骤重复几次,直至火焰产生,火焰 LED 灯亮起。

8) 如果上步骤点火不成功,关闭点火开关,逆时针旋转燃气控制旋钮 1 圈,再打开点火开关,观察火焰情况。(注意:若操作此步后火焰仍未点燃,可重复本步骤几次,但燃气控制旋钮转 4 圈,若点火失败,请参考之后的故障排查检查点火失败原因)

9) 本仪器只在初次使用时进行初调,之后的实验可以直接进行测量无需此初调步骤。

2.实验操作说明

1) 打开燃气供应阀和空气压缩机。

2) 按下电源开关,电源 LED 灯照亮,等待点火。

3) 点火灯亮起,可以从观察口观察火焰状态,在正式测量之前,仪器维持此状态预热 30 分钟,此时吸样管必须放入有稀释剂(去离子水)的烧杯中。

4) 在仪器预热期间准备标准液做值校准,为了达到 M410的线性校准范围,我们建议对于 Na 的校准液浓度不超 10ppm,对于 K Ca 的校准液浓度不超过100ppm

5) 零点校准:将吸样管放入盛有去离子水的烧杯中,将此时的读数调为 0.0

6) 值校准:将吸样管放入盛有之前配的浓度标准液的烧杯中,稳定 20s 后读数,旋转粗调和精调旋钮,将读数调使之方便阅读和记录。例如,10ppm Na 标准液可以设置读数为 100.0

7) 移走标准液,等待 10s,将吸样管放入空白的去离子水中再次零点校准维持 20s,并调节读数至 0.0,移走空白稀释液,等待 10s。按此步骤将零点和值的数值反复校准 2 次,直至零点校准的读数 0.0,允许读数在±0.2 范围内波动,值校准读数在设定值的±1%的波动范围内。

8) 待零点和值校准后可以开始测量。

9) 将吸样管放入盛有被测样品的烧杯中,测量维持 20s,读数并记录,为了读数的准确每个样品可测三次取平均值,尽量减少人为读数误差。(注意:被测量的样品浓度必须稀释到仪器要求的测量范围内,才能开始测量)

10) 关机操作:停止测样后将吸样管放入空白的去离子水中维持 2min,然后关闭燃气供应,待火焰的 LED 灯熄灭后,关闭点火电源和空压机。

3.仪器使用注意事项

1) 待测样品不能选择高粘度或粒子分散不均匀的液体,防止吸样管和雾化器的堵塞。

2) 用肥皂水对空气管和燃气管查漏。打开燃气阀后,禁止在仪器周围出现明火,如香烟。

3) 仪器所有配件应使用 Sherwood 品牌的配件,不能随意更换。比如,连接雾化室和排液阀的 U 形管不能随意更换,它的孔径和长度的变化将会影响 M410 的机器性能。

4) 如果不是在调整观察火焰的状态下,请不要打开火焰观察窗,实验过程中要避免杂光进入烟囱。

5) 丙烷、丁烷、天然气是高度易燃并有潜在爆炸性的气体。储气的钢瓶不能受热或受震。

6) 在仪器工作时烟囱帽和其中的玻璃灯罩区会变得很热,能造成严重烧伤,不要用手触摸。

观察火焰请从火焰观察窗观看,不要从烟囱顶部观察,避免被灼伤。

7) X打开空气压缩机再点火,否则火焰可能会出现在烟囱上方,易发生危险。

8) 仪器尽量避免和强酸、强碱及强腐蚀性液体接触。清洁仪器时使用温水或肥皂水。

六、故障排除

1.电源灯不亮

1) 检查仪器是否连接到工作电源,电源开关是否打开;

2) 检查保险丝是否损坏并需要更换;

3) 如果问题仍然存在请联系您的 Sherwood 品牌经销商。

2.火焰灯不亮

1) 检查 U 形管内是否充满去离子水;

2) 检查空气管是否连到空压机上,检查空压机是否正常工作;

3) 检查燃气钢瓶中的燃气是否充足,检查燃气的进气压力是否是 30psi 左右,检查燃气节流阀是否堵住,如果堵住用清洗线清洗节流阀;

4) 如果问题仍然存在请联系您的 Sherwood 品牌经销商。

3.无法设置读数为 0

1) 检查空白样的去离子水是否被吸入;

2) 去离子水可能被污染,需更换纯净的去离子水;

3) 如果问题仍然存在请联系您的 Sherwood 品牌经销商。

4.无法设置读数为标准值

1) 检查被测标准液的浓度,确保此标准液浓度在仪器的测量范围内;

2) 检查雾化器是否堵塞,并及时用清洗线清理;

3) 检查玻璃罩是否干净,避免其影响火焰光强测定;

4) 仪器操作的周围环境有烟雾也会导致读数错误;

5) 如果问题仍然存在请联系您的 Sherwood 品牌经销商。
了解更多关于上海书俊仪器设备有限公司代理的英国Sherwood火焰光度计的详细信息请咨询:021-64825207或各地办事处电话进行咨询转接。

 

友情链接
代理品牌: LAUDA| Sinaptec| Sonics| Drummond| Borotto| Boekel| Bellco| Chemglass| Systec| Waring| Organomation| Biospec| Vacuubrand| Raytrix| TetraCAM| Fluxdata
Copyright 2002-2020 Prime Scientific All Rights Reserved
上海书俊仪器设备有限公司:上海市徐汇区龙吴路777号8号楼201 邮编:200231
电话:021-64825207 / 54357452 / 54357456 / 54357460 / 54357482 传真:021-64753780
沪ICP备13030527号-1